Крючки для крючков на руках для уплотнений Грота для аргументов Scraper 9el


Код: 16036418657
715 грн
Цена указана с доставкой в Украину
Товар есть в наличии
КАК ЭКОНОМИТЬ НА ДОСТАВКЕ?
Заказывайте большое количество товаров у этого продавца
Информация
  • Время доставки: 7-10 дней
  • Состояние товара: новый
  • Доступное количество: 10

Оплачивая «Крючки для крючков на руках для уплотнений Грота для аргументов Scraper 9el», вы можете быть уверены, что данный товар из каталога «Смешанные наборы» вы получите в срок 5-7 дней после оплаты. Товар будет доставлен из Европы, проверен на целостность, иметь европейское качество.

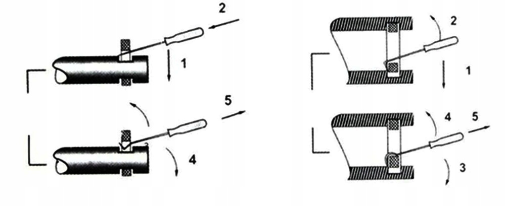
набор крючков и скребков 9 элементов

Характеристики:

  • Инструменты предназначены для демонтажа следующего, Simering и всех видов тюленей .
  • Идеально подходит для очистки элементов металла другого типа уплотнения. Несоотражной пластик, обеспечивающий определенную сцепление и комфорт во время работы.

Спецификация:

  • Количество элементов установки - 9
  • Материал - высококачественная сталь; Не -Slip Plastic

Длина инструментов:

  • 5 ПК - 260 мм
  • 4 шт. Округлый
  • Простой