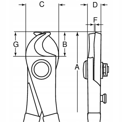
Изолированные крышки 170 мм открывают до 15 мм бахко


Код: 17414489767
6072 грн
Цена указана с доставкой в Украину
Товар есть в наличии
КАК ЭКОНОМИТЬ НА ДОСТАВКЕ?
Заказывайте большое количество товаров у этого продавца
Информация
  • Время доставки: 7-10 дней
  • Состояние товара: новый
  • Доступное количество: 2

Покупая «Изолированные крышки 170 мм открывают до 15 мм бахко», вы можете быть уверены, что данное изделие из каталога «Режущие» вы получите через 5-7 дней после оплаты. Товар будет доставлен из Европы, проверен на целостность, иметь европейское качество.

  • Изолированные порезы
  • Для работы с напряжением до 1000 В
  • IEC 60900, сертифицированные VDE
  • Покрытыми хромированными и защищенными анти -коррозиями
  • Высококачественное выделение
  • 3 -й слои. 230 мм открывается до 22 мм